Cheie dinamometrica manoskop 730ii/65 quick 130–65

Cheie dinamometrica manoskop 730ii/65 quick 130–65

Stahlwille
ET-50184565
highlight_off Stoc epuizat – contactează-ne pentru termen de livrare

Lipsa stoc
4.205,25 lei
Include TVA
Cantitate

Stoc epuizat
Metode de plată disponibile:
credit_card
Card bancar
Visa & Mastercard
tbi
4 rate
0% dobândă
până la 2.000 lei
6–60 rate
Dobândă fixă
peste 2.000 lei
local_shipping
Plată la livrare
Ramburs curier
receipt
Ordin de plată
Transfer bancar / OP
assignment
Acest produs poate fi achiziționat și prin SEAP sau proiecte finanțate.
Pentru oferte oficiale, documentație sau achiziții prin SEAP/proiecte, contactează departamentul nostru de vânzări.
account_balance Instituții și companii
support_agent Persoane Fizice

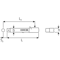
Chei dinamometrice seria MANOSKOP® cu recipient pentru scule de introducere nr. 755clichetelementul de măsurare este doar sub sarcină în timp ce se aplică forța, nu este necesară resetarea manuală la zerosuport pentru unelte interschimbabile de inserție/carcasăBlocare de siguranță QuickRelease (mărimile 5-65) setare rapidă datorită manetei de blocare cu acțiune ușoară din mâner (dimensiuni 5–65)Proiectat ergonomic, reglator anti-alunecare cu o locație pentru degetul mare lupa integrata in vitrina Mâner convex optimizat pentru lucru fără efort semnal dublu de oprire cântare duble N m/ft lb și N m/in lb (dimensiuni 5–80) la cerere disponibilă și ca versiune N m-only fără scară dublă (dimensiuni 5-65) poate fi aplicat fie pentru strângerea în sensul acelor de ceasornic, fie în sens invers acelor de ceasornic prin răsturnarea inserțiilor orice forță aplicată sculei după „clic” sau aplicată în direcția opusă funcției curente – de ex. slăbirea forțată a unui șurub blocat - nu acționează asupra mecanismului de declanșare și nu poate provoca deteriorarea acestuia calibrare folosind unitatea de calibrare perfectControl® nr. 7794 sau sistemul de calibrare nr. 7706. Reajustarea nu necesită demontare. certificat conform DIN EN ISO 6789-2:2017 valoarea abaterii afișajului ± 4%

Stahlwille
: ET-50184565
Lipsa stoc

Use collapsible tabs for more detailed information that will help customers make a purchasing decision.

Ex: Shipping and return policies, size guides, and other common questions.

  • Paste the label on a flat surface on the package
  • Make sure that both 1D and 2D barcodes are clearly visible
  • Ensure that the label is smooth and isn’t creased or wrinkled
  • Check for any tears, dents, holes or scratches
  • Pack your product tightly, with the right size packaging
  • Ensure both barcodes are on a flat surface of the package

16 alte produse din aceeași categorie: